Баланс и отказоустойчивость в облачных вычислениях
Anna Zavarzina, 26/06/2018
В статье рассматриваются ключевые вопросы, связанные с организацией облачных технологий. Описаны основные подходы к обеспечению отказоустойчивости облачных систем. Подробно рассматриваются основные виды облаков, и принципы организации их работы. Показаны особенности методов восстановления системы после отказов на основе сохранения состояний процессов. Раскрыты основные проблемы и достоинства облачных вычислений
На сегодняшний день большое распространение получают облачные вычисления. Основной причиной развития данной технологий возможность экономии ресурсов (материальных, физических и др.). Все больше компаний используют для организации работы своих сотрудников, удаленные виртуальные рабочие места. Использование облачных вычислений предоставляет безграничные возможности благодаря своим сервисам хранения данных и виртуализации приложений. Но в то же время остается множество вопросов, связанных с организацией налаженной работы и реализации отказоустойчивости облачных вычислений, что и определило актуальностьтемы выбранной статьи.
Облачные вычисления – это технология, которая предоставляет удаленный доступ к программно-аппаратному обеспечению, через Интернет или локальную сеть. Для развертывания большинства облачных инфраструктур используются сервера датацентров, путем реализации технологии виртуализации. Это позволяет любому пользователю использовать удаленное приложение, не задумываясь о технологических аспектах. Следовательно, под "облаком" можно понимать единый доступ к вычислениям со стороны пользователя.
Работа при использовании облачных вычислений происходит в несколько этапов. На первом этапе арендуются сервера у одной из предоставляющих данную услугу компаний, например, у Microsoft, Amazon, Google. Далее пользователь управляет своими арендованными серверами через Интернет, оплачивая при этом только фактическое их использование для обработки и хранения данных. Кроме того, присутствует возможность изменять мощности удаленных рабочих мест, подключать дополнительные сервисы для организации безопасности, увеличивать арендуемое пространство. Использование облачных вычислений, позволяет существенно снизить капитальные расходы – на построение центров обработки данных, закупку серверного и сетевого оборудования, а также решение проблем по обеспечению непрерывности и работоспособности. У конечных пользователей пропадает необходимость тратить огромные средства на создание собственных серверов и ЦОДов (центров обработки данных). Появилась возможность автоматизации задач, приобретая готовые пакеты: SaaS (аренда ИТ-приложений), PaaS (разработка новых решений на базе облачных платформ), DaaS (аренда виртуального рабочего места), IaaS (аренда ИТ-инфраструктуры).
В облачной инфраструктуре предусмотрена возможность самоуправления и делегирования полномочий для организации защищенного доступа к вычислительным ресурсам всех участников виртуальной работы:
-- CloudBroker(посредник между облачными провайдерами и потребителями управляющий производительностью).
-- CloudConsumer(пользователь услуг).
-- CloudProvider(продавец облачных услуг).
-- Cloud Carrier (посредник между облачными провайдерами и потребителями, предоставляющий услуги подключения и транспорт).
-- Cloud Auditor (компания или физическое лицо, выполняющие независимую оценку облачных услуг) [1].
Концепция "облачных вычислений" появилась еще в 60-х годах 20 века. Эволюция развития информационных технологий предоставила наиболее подходящие технические решения для наиболее эффективного ее применения. На сегодняшний день облачные вычисления рассматривают как наиболее перспективную стратегическую технологию будущего, прогнозируя перемещение большей части информационных технологий в облака. Различают несколько видов организации облаков (табл. 1).
Таблица 1. Виды облаков по реализации и использованию
|
Виды |
Характеристика |
|
Частное (Private Cloud) |
Облачные вычисления реализуются на ресурсах, имеющихся в распоряжении компании. Цель ее разработки -- обслуживание нужд одной организации. Управление в данной системе может осуществляться внутренними специалистами или внешним провайдером. |
|
Коммунальное (CommunityCloud) |
В данной модели предполагается совместное использование облачной инфраструктуры несколькими организациями. Для нее характерно наличие общих принципов таких как: миссия, требования к безопасности, политика и др. Управление осуществляется самими организациями или третьей стороной, или внешним провайдером. |
|
Гибридное (Hybrid Cloud) |
Для гибридной облачной инфраструктуры характерно сочетанием двух и более облаков (частных, общих или публичных), остающихся уникальными сущностями. Правила объединения стандартизированы. Обеспечивается портируемость данных и приложений между такими облаками. |
|
Публичное (Public Cloud) |
Публичное облако – это общедоступная инфраструктура доступная для большой группы потребителей, не связанных общими интересами. Инфраструктура принадлежит организации, которая продает соответствующие облачные услуги/предоставляет облачные сервисы. |
В России технологии облачных вычислений начинает завоевывать рынок. Технологии виртуализации предоставлены на таких бизнес площадках как "IT-Град". Но отечественные предприниматели не спешат переносить свой бизнес на облачные сервисы, из-за различных опасений. Наибольшим спросом данная технология пользуется у IT-предпринимателей и различных стартапов. Это обусловлено тем, что пропадает проблема в закупке дорогостоящего оборудования, и привлечения специалиста для его обслуживания -- потому что вся информация и программы хранятся в облаке. Кроме того, возможность иметь доступ к данным в любом месте, где имеется выход в сеть Интернет.
Для решения проблем организации комфортной работы в облаке данные хранящиеся в облаке автоматически распределяются между несколькими серверами, что решает проблему потери данных. Пользователю предоставляется круглосуточная поддержка дата центров, поэтому возможность потери доступа к удаленному рабочему месту сведена к минимуму, и даже если аппаратная часть станет неисправной, распределение возможностей позволит продолжить работу. Это определяет баланс и отказоустойчивость функционирования системы.
В современных облачных вычислениях одним из способов достижения отказоустойчивости, является использование методов сохранения состояний процесса на основе контрольных точек. Данный метод позволяет восстанавливать состояние процессов в случае отказа, при этом процессы обмениваются сообщениями для контроля состояний друг друга (рис.1).
/%D0%B0%D0%B1%D1%80%D0%BE%D1%81%D0%B8%D0%BC%D0%BE%D0%B2/%D0%A1%D0%BB%D0%B0%D0%B9%D0%B41.jpeg?width=720&name=%D0%A1%D0%BB%D0%B0%D0%B9%D0%B41.jpeg)
Рисунок 1. Метод сохранения состояний процесса
Методы несогласованного сохранения состояний позволяют каждому процессу самостоятельно создавать контрольные точки. При этом формируется глобальная целостная структура. Отказоустойчивость в данной модели основывается на надежности каждого вычислительного узла. Виртуальная машина выполняет алгоритм приложения реального времени, после чего запускается модуль проверки, отвечающий за корректность работы виртуальной машины. Модуль проверки результатов работы виртуальной машины передает результаты выполнения задачи модулю проверки времени, который сверяет с установленными ограничениями время выполнения. Модуль оценки надежности, в свою очередь, рассчитывает и задает значение надежности для каждой виртуальной машины. Затем, информация передается в модуль принятия решений, который выбирает выходные данные узла с наивысшей надежностью, и создается контрольная точка восстановления. Восстановление системы предполагает откат к контрольной точке неисправного процесса. Восстановление сообщений, отправленных в период времени между отказом системы и контрольной точкой происходит из лога, который хранится в постоянной памяти и повторно обрабатывается при передаче пользователю. Таким образом, восстановленный процесс повторно генерирует копии сообщений, отправленных до отказа [9].
Другим способом организации отказоустойчивой работы облачных вычислений является использование метода сохранения сообщений. Алгоритм предполагает запись каждого сообщения во временную память асинхронно без остановки процесса вычислений. Это позволяет восстанавливать систему после ошибок без избыточного синхронного сохранения сообщений в постоянной памяти [5].
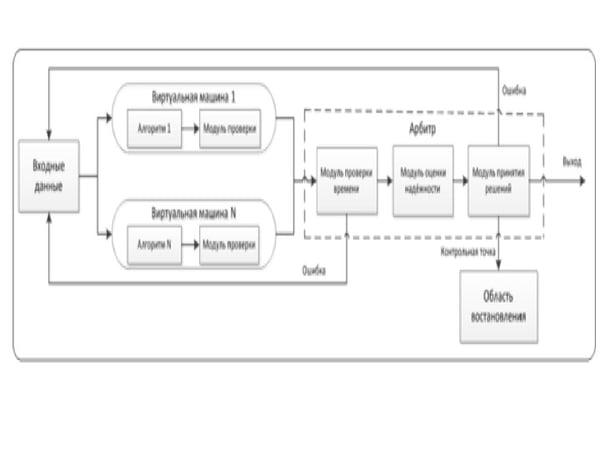
После восстановления отказавшего процесса ему будут повторно в любом порядке отправлены все сообщения. Виртуальной машиной выполняется алгоритм приложения реального времени, после чего запускается модуль проверки, отвечающий за корректность работы виртуальной машины. Арбитр содержит три модуля: проверки времени, оценки надежности и принятия решений. В зависимости от типа приложения реального времени арбитр может быть расположен на стороне облака или пользователя, но, как правило, находится возле датчиков или механизмов управления (рис.2).
/%D0%B0%D0%B1%D1%80%D0%BE%D1%81%D0%B8%D0%BC%D0%BE%D0%B2/%D0%A1%D0%BB%D0%B0%D0%B9%D0%B42.jpeg?width=600&name=%D0%A1%D0%BB%D0%B0%D0%B9%D0%B42.jpeg)
Рисунок 2. Модель отказоустойчивости с использованием арбитра
Основополагающая технология для облачной инфраструктуры -- виртуализация. Именно она формирует неопределенность облака, позволяя перебрасывать функционирующие приложения с одного сервера на другой, причем без прекращения работоспособности всего приложения. Облако же, как правило, включает в себя нескольких узлов, каждый из которых располагается в разных центрах обработки данных, в том числе и у других провайдеров: компании, предлагающие облачные услуги могут не иметь личных центров обработки данных, а брать в аренду серверы или стойки у нескольких провайдеров хостинга. Поэтому составляющие среды исполнения могут быть различными. Для предотвращения потерь важной информации чаще используются [2]:
- RAID-массивы.
- Системы резервного копирования.
- Дублирование информации.
Нельзя не отметить, что данные методы увеличивают возможность утечки конфиденциальной информации, из-за большого числа копий.
Таким образом, в данной работе были описаны основные аспекты организации баланса в облачных вычислениях, проблемы реализации отказоустойчивости дата центров. В данной работе анализируются вопросы применения облачных вычислений в реальном бизнесе, что представляет собой высокую полезность как для бизнесменов-стартаперов, так и для инвесторов.
Повышение интереса в российских академических и бизнес кругах, к вопросам использования облачных вычислений будет способствовать развитию в нашей стране новых трендов IT-индустрии.
Облачные вычисления обладают следующими основными преимуществами и достоинствами:
-- доступность и отказоустойчивость;
-- использование удаленных терминалов (экономия на приобретении дорогостоящего оборудования);
-- быстрый доступ к документам (хранение документов в облаке, позволяет пользователям иметь доступ к данным в любое время и в любом месте); устойчивость к потере данных или краже оборудования (копии данных автоматически распределяются по нескольким серверам);
-- надежность системы (управление датацентрами производится профессиональными специалистами, обеспечивающими круглосуточную поддержку).
На основе проведенного анализа были предсказаны основные пути развития облачных технологий.
Список литературы:
- Аленова Н. М. Облачные вычисления. – М., 2013. – 356 – 361 c.
- Белов Д. А., Давлекамова И. А. Защита персональных данных при переходе к облачным вычислениям //Современные научные исследования и инновации. 2017. № 5 [Электронный ресурс]. URL: http://web. snauka. ru/issues/2017/05/82443 (дата обращения: 29. 11. 2017).
- Вентцель Е. С., Овчаров Л. А. Теория случайных процессов и ее инженерные приложения: Учеб. пособие для втузов. / Вентцель Е. С. – 2-е изд., стер. – М.: Высш. шк., 2012. – 383 с.
- Панфилов К. М. По ту сторону Web-страницы. – М., 2008. -75 c.
- AWS. [Электронный ресурс]. – Вопросы и ответы. – Режим доступа: https://aws. amazon. com/ru/free/faqs/. (Дата обращения 26. 04. 2017)
- Широкова Е. А. Облачные технологии [Текст] // Современные тенденции технических наук: материалы Междунар. науч. конф. (г. Уфа, октябрь 2011 г.). -- Уфа: Лето, 2011. -- С. 30-33.
- Tim O'Reilly "Web 2. 0 and Cloud Computing"radar. oreilly. com/2008/10/web-20-and-cloud-computing. html
cloudcomputingexpo. com - "ВведениевWindows Azure"www. techdays. ru/videos/1268. html
- Электронная библиотека: http://hpc-ua.org/hpc-ua-12/files/proceedings/26.pdf
Михаил Абросимов
Профессор кафедры теоретических основ компьютерной безопасности и криптографии Саратовского государственного университета имени Н.Г. Чернышевского, д.ф-м.н.
Судани Хайдер Хусейн Карим
Аспирант кафедры математических основ информатики и олимпиадного Саратовского государственного университета имени Н.Г. Чернышевского




